ГОСТ 11645-73 МЕТОД ОПРЕДЕЛЕНИЯ ПОКАЗАТЕЛЯ ТЕКУЧЕСТИ РАСПЛАВА ТЕРМОПЛАСТОВ

ГОСТ 11645-73 МЕТОД ОПРЕДЕЛЕНИЯ ПОКАЗАТЕЛЯ ТЕКУЧЕСТИ РАСПЛАВА ТЕРМОПЛАСТОВ

Стандарт распространяется на термопластичные пластмассы и устанавливает метод определения показателя текучести расплава термопластов. Сущность метода состоит в определении массы материала в граммах, экструдированного из прибора в течение 10 минут при заданных условиях температуры и давления.

ООО Интелтест
109316, Россия, г. Москва, Остаповский проезд, д. 3, стр. 24, офис 202
+7 (499) 753-32-26
20.01.2022
16603

ГОСТ 11645-73

Группа Л29

ГОСУДАРСТВЕННЫЙ СТАНДАРТ СОЮЗА ССР

ПЛАСТМАССЫ

Метод определения показателя текучести расплава термопластов

Plastics. Determination of flow index of thermoplastics melt by extrusion plastometer

ОКСТУ 2209

Дата введения 1975-01-01

ИНФОРМАЦИОННЫЕ ДАННЫЕ

1. РАЗРАБОТАН И ВНЕСЕН Министерством химической промышленности

РАЗРАБОТЧИКИ:

А.М.Лобанов, Е.А.Анисимов, Е.Л.Виноградов, Н.И.Федорова

2. УТВЕРЖДЕН И ВВЕДЕН В ДЕЙСТВИЕ Постановлением Государственного комитета СССР по стандартам от 6 апреля 1973 г. N 847

3. Периодичность проверки — 5 лет

4. ВЗАМЕН ГОСТ 11645-65

5. ССЫЛОЧНЫЕ НОРМАТИВНО-ТЕХНИЧЕСКИЕ ДОКУМЕНТЫ

Обозначение НТД, на который дана ссылка

Номер пункта, подпункта

ГОСТ 2789-73

1.1

ГОСТ 12423-66

2.2

ГОСТ 24104-88

1.2

6. Ограничение срока действия снято по решению Межгосударственного совета по стандартизации, метрологии и сертификации (ИУС 2-93)

7. ПЕРЕИЗДАНИЕ (июнь 1994 г.) с Изменениями N 1, 2, 3, утвержденными в январе 1980 г., декабре 1984 г., июне 1987 г. (ИУС 4-80*, 4-85, 10-87)

Настоящий стандарт распространяется на термопластичные пластмассы и устанавливает метод определения показателя текучести расплава термопластов. Сущность метода состоит в определении массы материала в граммах, экструдированного из прибора в течение 10 мин при заданных условиях температуры и давления.

(Измененная редакция, Изм. N 3).

1. АППАРАТУРА

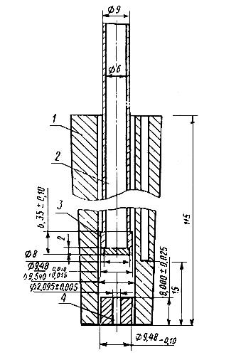
1.1. Для определения показателя текучести расплава термопластов применяется экструзионный пластомер (черт.1), измерительный узел которого состоит из экструзионной камеры, поршня, капилляра и дополнительного груза.

Поверхности прибора, контактирующие с испытуемым материалом, должны быть отполированы и должны иметь параметры шероховатости символ Ra 0,160 мкм по ГОСТ 2789-73.

1.1.1. Экструзионная камера изготовлена из твердой стали. Высота камеры должна быть 115-180 мм.

Внутренний диаметр канала экструзионной камеры должны быть от 9,500 до 10,000 мм по всей высоте экструзионной камеры с допускаемым отклонением не более +0,036 мм.

Экструзионная камера окружена нагревателем, обеспечивающим ее нагрев до 673 К (400 °С). Основание камеры должно иметь теплоизоляцию, выполненную так, чтобы площадь открытой поверхности основания камеры не превышала 4 см2.

(Измененная редакция, Изм. N 2, 3).

чертеж 1

Черт.1

1.1.2. Терморегулирующее устройство должно обеспечивать автоматическое поддержание температуры с точностью до ±0,5 К (±0,5 °С).

1.1.3. Контрольный термодатчик (ртутный термометр или термопару) помещают в боковой канал вблизи от экструзионной камеры так, чтобы его конец находился на расстоянии 15 мм от основания камеры.

Допускается наклонное расположение бокового канала относительно вертикальной оси экструзионной камеры.

Температуру измеряют с погрешностью не более 0,1 К (0,1 °С).

Пространство между термометром и стенкой экструзионной камеры заполняют теплопроводящим веществом.

1.1.4. Стальной поршень 2 хромирован и должен быть длиной с направляющей головкой не менее длины экструзионной камеры.

Направляющая головка 3 должна быть длиной (6,35±0,10) мм, диаметром 9,480-0,015 мм. Нижняя кромка направляющей головки должна быть с радиусом закругления 0,2-0,4 мм. Острая верхняя кромка головки должна быть сглажена.

Диаметр штока поршня должен быть 9 мм. В верхней части штока поршня должна быть втулка для укладки дополнительного груза, термически изолированная от штока поршня. На штоке поршня имеются четыре кольцевые метки (см. черт.2).

Для обеспечения хорошей работы прибора экструзионная камера и поршень должны быть изготовлены из стали различной твердости. Экструзионную камеру рекомендуется изготовлять из более твердой стали. Поршень может быть полым или литым. При испытаниях с меньшими нагрузками применяют полый поршень, так как в противном случае может оказаться невозможным получить заданную нагрузку. Если испытания проводятся при повышенных нагрузках, применять полый поршень не рекомендуется, так как высокие нагрузки могут вызвать его деформацию.

чертеж 2

Черт.2

1.1.3; 1.1.4. (Измененная редакция, Изм. N 3).

1.1.5. Капилляр 4 из закаленной стали должен быть длиной (8,000±0,025) мм, с внутренним диаметром капилляра (2,095±0,005) мм или (1,180±0,005) мм.

Наружный диаметр должен позволять свободную установку его в экструзионной камере. Внутренний диаметр капилляра выбирают в соответствии со стандартами или техническими условиями на каждый вид материала. Капилляр не должен выступать из экструзионной камеры. Камера должна иметь приспособление, удерживающее капилляр и позволяющее легко вынимать его для чистки прибора после каждого испытания.

1.1.6. Масса добавочного груза вместе с собственной массой поршня должны создавать требуемую нагрузку на испытуемый материал с допускаемым отклонением ±0,5% от нагрузки в соответствии с приложением 1.

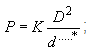
Нагрузку (Р) в Н (кгс) вычисляют по формуле

формула 1

где K — коэффициент, зависящий от диаметра капилляра и от выбранной нагрузки, определяют по обязательному приложению 1;

D — диаметр направляющей головки поршня, мм;

— диаметр капилляра, мм.

_______________________

* Брак оригинала

1.2. Вспомогательное оборудование должно включать:

  • приспособление для введения образцов в экструзионную камеру;
  • инструмент для отсечения отрезков экструдируемого материала;
  • стержни для чистки капилляра;
  • ерш для чистки канала экструзионной камеры;
  • развертку;
  • уровень;
  • секундомер по НТД;
  • весы по ГОСТ 24104-88* с погрешностью измерения не более 0,0002 г;
  • термометр или другой термодатчик, с погрешностью измерения 0,1 К (0,1 °С).
________________

* На территории Российской Федерации действует ГОСТ 24104-2001.

Допускается до 1 января 1989 г. в народном хозяйстве СССР использовать термометры:

  • с ценой деления не более 0,5 К (0,5 °С) при температуре испытания до 573 К (300 °С);
  • с ценой деления не более 1 К (1 °С) при температуре испытания свыше 573 К (300 °С) до 623 К (350 °С);
  • с ценой деления не более 2 К (2 °С) при температуре испытания свыше 623 К (350 °С) или во всех этих случаях другой термодатчик с аналогичной погрешностью измерения.

(Измененная редакция, Изм. N 2, 3).

2. ПОДГОТОВКА К ИСПЫТАНИЮ

2.1. Для испытания применяют образцы в виде гранул, порошка, лент, пленки или другой формы, обеспечивающей его введение в отверстие экструзионной камеры. Порошкообразные материалы предварительно прессуют в таблетки, в соответствии со стандартами или техническими условиями на материалы, во избежание образования пузырьков воздуха в экструдируемых отрезках.

2.2. Образцы для испытаний кондиционируют при условиях, указанных в стандартах и технических условиях на материал с учетом требований ГОСТ 12423-66.

2.3. За температуру испытания принимают температуру термопласта в экструзионной камере на расстоянии 10 мм от верхней поверхности капилляра. Контроль температуры в процессе испытания осуществляется с помощью контрольного термодатчика, показания которого отличаются от температуры испытания.

Перед измерениями производят проверку температуры, показываемой контрольным термодатчиком прибора.

Для этого во внутрь экструзионной камеры вводят второй термодатчик. Этот термодатчик погружают в термопласт таким образом, чтобы его конец находился на расстоянии 10 мм от верхней поверхности капилляра. Убедившись, что температура испытания достигла заданного уровня, в показания температуры контрольного термодатчика вносят поправку алгебраическим добавлением разницы в показаниях обоих термодатчиков.

Условия испытания должны быть указаны в стандартах или технических условиях на материал. Если таких указаний нет, то применяют условия, указанные в приложении 2.

(Измененная редакция, Изм. N 2).

3. ПРОВЕДЕНИЕ ИСПЫТАНИЯ

3.1. Прибор устанавливают по уровню, нагревают без образца до соответствующей температуры испытаний и выдерживают его при этой температуре в течение не менее 15 мин.

3.2. В капилляр вставляют плотно входящую медную развертку для предотвращения вытекания материала во время прогрева, вынимают поршень, загружают в экструзионную камеру образец материала массой от 4 до 8 г, в зависимости от предполагаемого значения показателя текучести расплава, указанного в табл.1, и вручную уплотняют его.

Чтобы исключить попадание воздуха в испытуемый материал, время загрузки его не должно превышать 1 мин.

В камеру вставляют поршень и помещают на втулку добавочный груз. После выдержки под давлением в течение времени, указанного в соответствующих стандартах и технических условиях на испытуемый материал, вынимают из капилляра развертку и дают полимеру течь. Время предварительного прогрева материала не должно быть менее 4 мин.

3.3. При низких скоростях течения материала допускается продавливание поршня вручную до тех пор, пока нижняя кольцевая метка штока поршня не будет выше на 5-10 мм верхней кромки экструзионной камеры. Время от момента освобождения капилляра до начала измерений не должно превышать 1 мин.

3.4. Как только нижняя кольцевая метка штока поршня опустится до верхней кромки экструзионной камеры, весь экструдированный материал срезают и в расчет его не принимают. Измерение показателя текучести расплава производят до тех пор, пока верхняя метка на поршне не опустится до верхней кромки экструзионной камеры. Когда показатель текучести расплава меньше, чем 3 г/10 мин, измерения производят в положении, когда верхняя кромка камеры находится между двумя средними метками.

3.5. Для измерения показателя текучести расплава отбирают отрезки экструдированного материала, последовательно отсекаемые через определенные интервалы времени, соответствующие указанным в табл.1.

Таблица 1

таблица 1

Длина отдельных отрезков может быть 10-20 мм.

Отрезки, имеющие пузырьки воздуха, отбрасывают.

3.6. После охлаждения полученные отрезки взвешивают каждый в отдельности с погрешностью не более 0,001 г. Число их должно быть не менее трех. Масса отрезка определяется как среднее арифметическое результатов взвешивания всех отрезков.

3.7. После окончания измерений освобождают капилляр и удаляют из прибора остатки полимера.

3.8. После каждого испытания экструзионную камеру следует прочищать в горячем состоянии ветошью до зеркального блеска.

Поршень вынимают и чистят в горячем состоянии тканью, смоченной в растворителе.

Капилляр прочищают плотно входящим медным стержнем и при необходимости погружают в кипящий растворитель. Допускается пиролитическая очистка в среде инертного газа при 823 К (550 °С).

При удалении остатков полимера или очистке какой-либо детали прибора запрещается применять абразивные или другие подобные им материалы.

4. ОБРАБОТКА РЕЗУЛЬТАТОВ

4.1. Показатель текучести расплава термопластов ПТР(Т,Р) в г/10 мин вычисляют с точностью до двух значащих цифр по формуле

формула 2

где T — температура испытания, К (°С);

P — нагрузка, Н (кгс);

t — стандартное время (по приложению 1), с;

m — средняя масса экструдируемых отрезков, г;

символ интервала— интервал времени между двумя последовательными отсечениями отрезков, с.

За результат испытания принимают среднее арифметическое двух определений на трех отрезках материала, допускаемые расхождения по массе между которыми не должны превышать 5%.

(Измененная редакция, Изм. N 2, 3).

5. ПРОТОКОЛ ИСПЫТАНИЯ

5.1. Протокол испытания должен содержать следующие данные:

  • марку материала и форму его представления;
  • массу материала, загружаемого в экструзионную камеру;
  • условия кондиционирования образцов;
  • диаметр капилляра и полную нагрузку;
  • диаметр экструзионной камеры;
  • показатель текучести расплава материала;
  • температуру испытания;
  • обозначение настоящего стандарта;
  • дату испытания;
  • данные о поведении материала (обесцвечивание, прилипание, искажение формы экструдата, неожиданное изменение скорости течения и т.п.).

(Измененная редакция, Изм. N 2).

ПРИЛОЖЕНИЕ 1
Обязательное

Условия определения показателя текучести расплава термопластов

таблица 2

ПРИЛОЖЕНИЕ 2
Обязательное

Условия определения, применяемые для различных пластических масс

таблица 3

Главная | Карта сайта | Обратная связь

© ООО «Интелтест» Все права защищены, 2022

109316, г. Москва, Остаповский проезд,
д. 5, стр. 4, оф. 232

8 (499) 753-32-26

8 (800) 550-26-28

info@inteltest.ru

info@inteltest.ru
8 (800) 550-26-28
Звоните бесплатно — наши специалисты
помогут Вам с подбором оборудования
Псков

Псков